Luzy na kierownicy e34 TDS
Moderator: Moderatorzy
-
urbiandobri
- Świeżak

- Posty: 7
- Rejestracja: 27 lut 2014, 9:37
- Seria: E34
- Nadwozie: Touring/Kombi
- Model: 525tds
- Rocznik: 1992
- Skrzynia biegów: Manualna
- Województwo: Pomorskie
Luzy na kierownicy e34 TDS
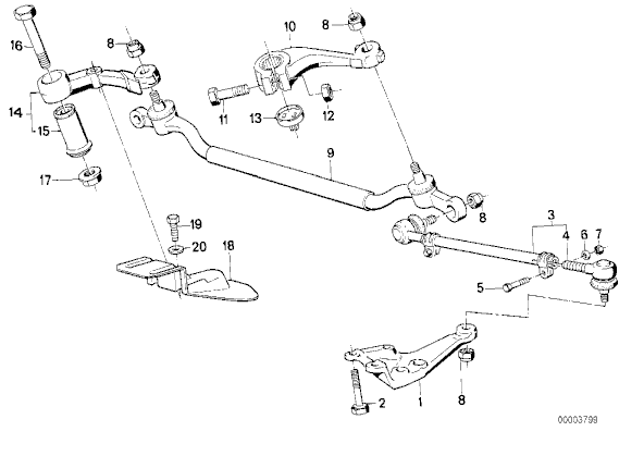
Mam pytanie. Mam luz wyczuwalny na ramieniu przy przekładni. Na zdjęciu nr. 10. I teraz pytanie. Z czego wynikać może luz i co należało by wymieniać. Samo ramię czy regeneracja przekładni?
- Załączniki
-
- 4.png (9.99 KiB) Przejrzano 8788 razy
- gummiss11
- Bywalec Gadulec
- Posty: 435
- Rejestracja: 13 gru 2009, 18:19
- Seria: E46
- Nadwozie: Sedan/Limuzyna
- Model: 320d
- Rocznik: 1999
- Skrzynia biegów: Manualna
- Województwo: Kujawsko-pomorskie
- Lokalizacja: Kawki(Brodnica)
Re: Luzy na kierownicy e34 TDS
Teraz kwestia czy luz jest między 10, a sworzniem z nakrętką 8, czy między elementem 10, a przekładnią? Jeśli pierwszy przypadek to wymiana drążka 9, jeżeli drugi to może da się skręcić śrubę 11 Jeśli natomiast przekładnia ma luz to na niej jest śrubka do zlikwidowania luzu, można spróbować dokręcić 

Śruba jest od góry, należy przytrzymać imbusem szpilkę i kluczem poluźnić nakrętkę zabezpieczająca, potem z wyczuciem dokręcić imbusem o ćwierć obrotu i ponownie za kontrować nakrętką. Po całej operacji trzeba sprawdzić czy da radę skręcić kierownicą do końca w obie strony bo jeśli się przykręci za mocno to nie będzie luzu, ale i ruch kierownicą będzie ograniczony..........
Jeśli nadal będzie luz to dokręcamy do skutku sprawdzając czy jest swobodny ruch kierownicy

Śruba jest od góry, należy przytrzymać imbusem szpilkę i kluczem poluźnić nakrętkę zabezpieczająca, potem z wyczuciem dokręcić imbusem o ćwierć obrotu i ponownie za kontrować nakrętką. Po całej operacji trzeba sprawdzić czy da radę skręcić kierownicą do końca w obie strony bo jeśli się przykręci za mocno to nie będzie luzu, ale i ruch kierownicą będzie ograniczony..........
Jeśli nadal będzie luz to dokręcamy do skutku sprawdzając czy jest swobodny ruch kierownicy
Bo Możemy Więcej...
-
urbiandobri
- Świeżak

- Posty: 7
- Rejestracja: 27 lut 2014, 9:37
- Seria: E34
- Nadwozie: Touring/Kombi
- Model: 525tds
- Rocznik: 1992
- Skrzynia biegów: Manualna
- Województwo: Pomorskie
Re: Luzy na kierownicy e34 TDS
Dziś spróbuję odkręcić śrubę 11. Jeśli to nie pomorze to oby nie przekładnia.
- wojtek_blekitny
- Moderator

- Posty: 922
- Rejestracja: 06 wrz 2008, 23:51
- Seria: E34
- Nadwozie: Sedan/Limuzyna
- Model: 525tds
- Rocznik: 1994
- Skrzynia biegów: Manualna
- Województwo: Wielkopolskie
- Lokalizacja: okol. Poznania
Re: Luzy na kierownicy e34 TDS
Poproś kogoś o skręcanie kołem kierownicy na postoju (wył. silnik) tylko tyle, na ile luz pozwala.
Jeżeli kolumna wchodząca do przekładni będzie się obracać, a wał wychodzący z przekładni (ten z wielowypustem, na który nakłada się ramię nr 10) nie, to problem leży w przekładni. I nic w tym dziwnego...standard w E34, która to już do młodych aut nie należy.
Regeneracja przekładni z E34 (jeśli nie masz servotronica) to koszt ok 400-500zł.
Jeżeli kolumna wchodząca do przekładni będzie się obracać, a wał wychodzący z przekładni (ten z wielowypustem, na który nakłada się ramię nr 10) nie, to problem leży w przekładni. I nic w tym dziwnego...standard w E34, która to już do młodych aut nie należy.
Regeneracja przekładni z E34 (jeśli nie masz servotronica) to koszt ok 400-500zł.
"Exercise your inner demons"
E34: "Ulep z samego serca Wielkopolski"
E34: "Ulep z samego serca Wielkopolski"
